桜川ポンプ製作所 / 水用ポンプ(ポンプ)

残水処理ポンプ(自動運転型)

受水槽やタンク、マンホールや河川工事などの幅広い現場での残水処理に活躍

●特徴
・残水水位 2mm以下を実現。建築現場での残水処理に威力を発揮します
・自動排水型には、ポンプ内部に逆止弁を採用し、逆流を防ぎます
・スタンド部はゴムになっておりますので、床面を傷つけません

●用途
・マンホール、ピットの残水処理
・河川工事などの残水処理
・受水槽、タンクの残水処理
・フロアーの残水処理

  • レンタル商品コード
    008008
  • 商品名
    残水処理ポンプ(自動運転型)
  • メーカー型番
    UEXK-40B
  • メーカー商品名
    センサー式オート残水処理ポンプ
  • 日極保証日数
    3日

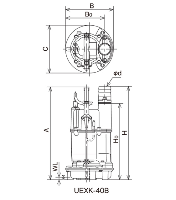
外形寸法 ※数値は下記仕様を参照

仕様

外形寸法(mm) ※図は上記画像を参照

  • d
    50
  • H
    379
  • Ho
    309
  • A
    376
  • B
    194
  • Bo
    159
  • C
    194
  • WL:起動最低水位
    10

要部標準仕様

  • 口径 mm
    50
  • 出力 kW
    0.4
  • 接続方式
    ホースカップリング

取扱液

  • 液質
    雨水・湧水・土砂水
  • 土砂濃度
    2%以下(容積比)
  • 液温
    0~40℃

ポンプ

  • 構造 軸封
    ダブルタイプメカニカルシール
  • 構造 軸受
    密封玉軸受
  • 材質 インペラ
    FCD
  • 材質 ケーシング
    ゴムライニング

モータ

  • 形式・極数
    乾式水中・2極
  • 相・電圧 V
    単相100
  • 絶縁種
    E
  • 内部保護装置
    オートカット
  • 材質 フレーム
    アルミ合金
  • 材質 主軸
    SUS403

標準仕様

  • 口径 mm
    50
  • 出力 kW
    0.4
  • 電圧 V
    単相100
  • 最高揚水揚程 m
    10
  • 最低残水水位 mm以下
    2
  • 始動方式
    直入
  • 質量 kg
    12

ケーブル仕様

  • 種類
    VCT
  • 断面積 mm2
    1.25
  • 芯線数
    3
  • 仕上外形 mm
    10.5
  • 長さ m
    5

見積リストに追加しました

AIに相談する

ページ上へ
CONTACT

お問い合わせ・お見積り・ご相談

※ 法人様のみのご対応とさせていただきます。

プラント工事のための
機械・通信機器・機材・備品レンタル

TEL.0436-61-7990

(受付時間 9:00~17:00)

FAX.0436-61-7991